上海联盟

定期寿险之 | 弘康人寿大白

只看楼主 收藏 回复
  • - -
楼主

一、【保险公司】

本款产品由弘康人寿保险有限公司承保,目前该公司在北京市、上海市、江苏省、河南省设有分支机构。


二、【产品介绍】

1.适用人群:20周岁-50周岁(含);

2.职业范围:1-4类;

3.保障期间:10年/20年/30年/至60周岁/至70周岁

4.缴费期间:10年/20年/30年;

5.销售区域:全国(不含港澳台);

6.备案编号:弘保发[2016]284号。


三、【保险责任】:身故或全残

因意外伤害或180日后非因意外伤害导致身故或全残,给付身故或全残保险金,合同终止。

四、【免责条款】

日常生活中,请多留意第5条,酒后驾车保险公司属免责。牢记“开车不喝酒,喝酒不开车”。

自2014年,全国实行6年新车免年检政策,极大方便了百姓,但如果误以为6年内不用年检,那么麻烦就大了! 实际上是6年内不用开车去年检,但是仍然需要2年一次到车管所进行年审,领取“年检合格标”,如果未年审的车辆发生交通事故,那么保险公司是可以拒赔的。


五、【健康问询】,共8个问题:


六、【重要告知】

1.本产品,仅限投保人本人购买。

2.被保险人17(含)周岁及以上:身高应大于142cm,小于等于202cm;BMI值必须为17(含)至26(含)之间。

3该产品线上购买犹豫期为10天,自保费划账成功当日算起有10天犹豫期,犹豫期内退保,将扣除10元工本费后无息退还您所缴纳的保险费。

4.准确填写投保人及被保险人的个人信息和健康告知等各项信息,如投保人有隐瞒或告知不实,保险公司有权解除保险合同,并不承担任何责任。

4.本产品有60天的宽限期。在交纳首期保险费后,如果您在保险费应交日未交纳保险费,自保险费应交日的次日起60日内为宽限期。宽限期内发生的保险事故,仍会承担保险责任,但在给付保险金时会扣除欠交的保险费。

6.保额限制。

(一)验证企业邮箱的情况下:

1.北京市、上海市、广东省、浙江省、江苏省、天津市、福建省,20-40周岁最高累计寿险风险保额100万;

2.其他地区,20-40周岁最高累计寿险风险保额80万;

3.41-50周岁:最高累计寿险风险保额60万。

(二)未验证企业邮箱的情况下:

1.20-40周岁:最高累计寿险风险保额50万;

2.41-50周岁:最高累计寿险风险保额30万。

9.河南地区限制条件:

1)年龄限制:限45周岁以下投保;

2)保额限制:累计寿险风险保额≤30万,重大疾病保险风险保额≤30万;


七、【投保案例】

李女士30岁,结婚时购的婚房(自己名下)仍有房贷50万元,与老公育有5岁宝贝-教育生活费30万元,每年支付约1万养老费-赡养费预期20万。

为规避人生100万负债风险,保障家庭幸福 :

每年交1600元,20年交,保障30年,共交32000元,

若等待期后李女士不幸身故或全残,如符合保险合同约定:

    则可获得弘康人寿赔付的100万元,用于家人的生活费及房贷还款。   


八、【温馨提示】

1.本产品自扣款成功之日后,第5日零时生效,生日单请提前5-7个工作日投保。

2.本产品采用电子保单形式承保,法律效力等同于纸质保单;

3.弘康人寿保险全国统一客服专线4008-500-365

4.投保本产品前,请投保人认真阅读产品页面展示内容、责任免除、合同解除、人身保险投保提示书、弘康大白定期寿险保险条款、职业类别表、客户告知书、信息披露等重要内容。


   总结 :  

大白定寿,是保险市场费率化后的定寿“首代优品“,小编本人入手的就是此款。由于问世较早,弘康人寿对于风险保额有一定的限制(不及其它公司免体检保额高),以及健康问询的问题较为严格,价格方面也是略有微差。

对于喜欢弘康人寿品质服务的朋友,不妨可以考虑。

  关于弘康人寿   

弘康人寿,成立于2012年7月19日,是经中国保险监督管理委员会批准设立的股份制人寿保险公司,注册资本金10亿元,注册地北京。2016年,弘康人寿,实现规模保费收入排名寿险行业前20强

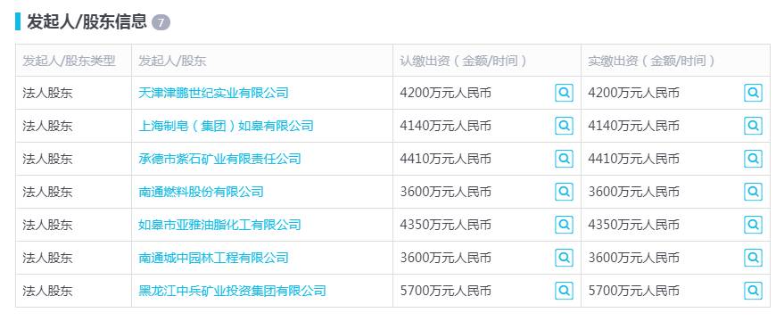
股东组成:

产品创新是弘康人寿的核心竞争力,弘康人寿本着让利于客户的原则,开发符合客户需求的产品,是业内首家且唯一一家全产品线保障与理财功能分离设计的寿险公司。保障类产品涵盖寿险、重疾险、意外险等险种,费率低,平均保额为业内保额3至5倍。理财类产品以灵活、稳健、高收益为特色,覆盖万能、投连等险种,所有在售产品历史结算利率及历史投资回报率均达成预期。

弘康人寿坚持互联网+思维,从客户体验出发创新服务,陆续推出“人脸识别办业务”、“保险理赔我上门”、“健康咨询不出门”及“就医通道有人陪”等客户增值服务,对接市场多元化的保险服务需求。弘康人寿是业内第一家将“人脸识别”技术引入投保和保全流程,客户足不出户即可体验安全、便捷的全流程保险服务。创新推出“白名单”核保机制,实现了大额保单免体检。

弘康人寿创新的管理模式和文化,赢得了社会的高度认可,连续两年获评“最具创新力保险公司”。2015年,弘康人寿荣获中国金融机构金牌榜“最佳互联网产品创新寿险公司”奖;2016年,弘康人寿接连斩获“2016中国保险风云榜·创新营销平台奖”、“中国保险业值得信赖品牌方舟奖”等多项殊荣。

最后

想了解或是投保此款的朋友请联系转发本链接的专业风险管理顾问,或点击下方“阅读全文 ”,通过顾问购买的优点是售前有咨询,售后有服务!

保险服务

保险 | 生活 | 交流


举报 | 1楼 回复

友情链接